L’histoire des Jeux olympiques est intimement liée à celle de l’innovation technologique. À chaque édition, des avancées brevetées ont repoussé les limites de la performance humaine, redéfinissant ce que nous pensions possible.
Ce panorama des inventions révolutionnaires offre un aperçu du rôle crucial de la technologie dans l’évolution du sport de haut niveau.
Le suivi de performances et l’évolution des technologies de chronométrage

Mais parmi les plus forts et les plus rapides, qui est le meilleur ? Les systèmes de chronométrage électronique sont l’une des premières innovations marquantes des Jeux modernes, permettant une comparaison juste et équitable des records du monde.
Dans ce domaine, le développement des systèmes de prise de temps automatiques et de haute précision n’a cessé d’évoluer. Des sociétés d’horlogerie spécialisées dans le chronométrage sont devenues des partenaires incontournables des Jeux Olympiques. Ce partenariat leur a permis de dynamiser leur R&D, et de proposer de nouveaux systèmes de chronométrage automatiques et de haute précision. Aujourd’hui, la précision du chronométrage est de l’ordre de la microseconde (1/1,000,000 de seconde), et les systèmes vidéo sont capables d’enregistrer plusieurs milliers d’images par seconde.
Aux JO 2024 de Paris, c’est la société suisse OMEGA® qui a été choisie comme chronométreur officiel. Partenaire incontournable des Jeux Olympiques, OMEGA et ses sœurs du groupe Swatch®, Swiss Timing® et Longines ® collaborent étroitement pour fournir des nouvelles technologies adaptées aux JO.
Mieux contrôler les règles de jeux
Outre l’amélioration continue de la précision des systèmes de chronométrage, ces sociétés ont également développé des systèmes pour le suivi des spectateurs et le contrôle des règles de jeu.
Par exemple, en 1964 Longines dépose en Allemagne a priori la première demande de brevet (DE 1290749 B) pour protéger une installation de contrôle de départ. Cette installation vise les épreuves dans lesquelles le départ est donné au moyen d’un pistolet, et permet de détecter les faux départs avec une précision inférieure à 3 millisecondes, en n’informant que le concurrent ayant commis l’erreur.

La figure 1 du brevet DE 1290749 B montre une vue schématique des plaques de départ, composées de plusieurs couches en aluminium (I, II, IV) et Plexiglas (III), isolées (X) et reliées à un circuit électrique.
Lorsque le concurrent se prépare pour le départ, il s’appuie avec une main sur les plaques II et V, fermant ainsi un circuit électrique à travers la conductivité de la peau.
Ce circuit est surveillé par un relais dans une centrale de commande. En cas de faux départ, le pistolet de départ est verrouillé électromagnétiquement pour empêcher le départ.
Selon une déclaration d’OMEGA, les JO de 1984 à Los Angeles verront pour la première fois ce type d’installation de contrôle de départ sur le terrain olympique, presque 20 ans après la date de dépôt du brevet DE 1290749 B.
Dans le domaine de la natation, OMEGA a déposé en 1964 sa première demande de brevet (CH476334 A) pour un dispositif de contact électrique destiné à détecter l’arrivée des nageurs, communément appelé « plaque de touche ».
Ce dispositif offrait une sensibilité et une robustesse accrues par rapport aux dispositifs pneumatiques utilisés à l’époque. Les plaques de touche ont été rapidement intégrées aux Jeux Olympiques, faisant leur première apparition notable aux Jeux de Mexico en 1968, seulement quatre ans après le dépôt de la demande de brevet CH476334 A.

La figure 1 de la demande de brevet CH476334 A illustre une plaque de touche perforée (1) en PVC intégrant des câbles de contact (5), et suspendue parallèlement à la face d’arrivée (2). Lorsqu’un nageur touche la plaque, celle-ci se déforme et comprime les câbles, fermant ainsi un circuit électrique qui enregistre le temps d’arrivée. Les câbles, constitués de deux conducteurs plats isolés dans un tube élastique, permettent une réaction rapide et fiable indépendamment de la force de la touche
Par la suite, de nombreuses demandes de brevet ont été déposées pour protéger les améliorations de ces systèmes et, de manière générale, les technologies permettant le suivi des épreuves sportives.
Aujourd’hui, le chronométrage par « photo-finish » est la principale technique utilisée pour déterminer l’ordre d’arrivée et le temps des compétiteurs dans des courses où les marges de victoire peuvent être extrêmement minces, tels que l’athlétisme, le cyclisme, l’aviron et bien d’autres.
Les images capturées sont analysées pour déterminer le moment précis où chaque compétiteur a franchi la ligne d’arrivée à l’aide de marqueurs temporels, permettant de calculer avec une précision extrême le moment exact où le corps de chaque compétiteur a franchi la ligne d’arrivée.
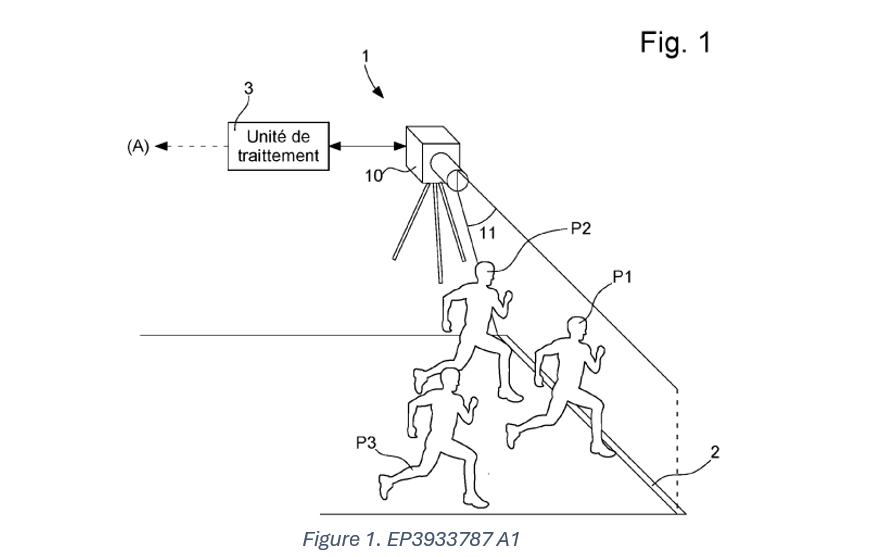
Cependant, tout n’est pas encore complètement automatisé ! Les marqueurs temporels sont encore positionnés de manière manuelle ou semi-manuelle par un opérateur, ce qui ralentit le processus de fourniture des résultats. L’une des demandes de brevets les plus récentes de Swiss Timing, la demande EP3933787A1 déposée le 2 juillet 2020, porte ainsi sur un système de détermination de position ou de posture permettant de placer automatiquement ces marqueurs. La figure 1 de ce document illustre de manière schématique le système qui met en œuvre l’intelligence artificielle pour placer de manière automatique les marqueurs.
Figure 1. EP3933787 A1

La technologie au service de nouveaux enjeux du sport olympique ?
Les publications les plus récentes de demandes de brevets nous permettent d’avoir un aperçu des nouvelles technologies que l’on pourrait voir arriver aux Jeux Olympiques de demain.
Par exemple, Swiss Timing a déposé une demande de brevet en juillet 2020 (EP3933788 A1) portant sur un procédé de chronométrage permettant de suivre avec précision les performances sur différents sites dans le monde, évitant ainsi les déplacements internationaux des athlètes et des spectateurs. En effet, les organisateurs des JO sont soucieux de diminuer l’empreinte carbone du plus grand événement sportif mondial.
L’organisation des événements délocalisés est l’une des solutions envisagées, et cette nouvelle technologie de Swiss Timing permettrait de faire un suivi précis tout en tenant compte des temps de transmission entre les sites.
Verrons-nous ce type d’épreuves se déroulant sur différents sites en même temps dans les années à venir ? Difficile d’assurer des conditions environnementales équitables lors des épreuves, mais ce type de technologie pourrait au moins assurer un chronométrage juste !
juillet 2024
juillet 2024