La filière vitivinicole est riche en savoir-faire, en création et en innovation. Que vous soyez propriétaire d’un domaine, tonnelier, fabricant de matériel, œnologue, designer ou membre d’un syndicat professionnel, la propriété intellectuelle (PI) peut devenir un levier stratégique de protection, de différenciation et de valorisation.

Marques, modèles, brevets, droits d’auteur : des outils à votre portée
La marque : affirmer son identité sur un marché concurrentiel
Dans le monde du vin et des spiritueux, la marque est un actif précieux. Elle permet distinguer les produits ou services d’une personne physique ou morale de ceux d’autres personnes physiques ou morales et en l’occurrence d’identifier un domaine, un vin, une cuvée ou un service associé.
Elle peut prendre de multiples formes :
- un nom, un logo, une étiquette,
- un son, voire une signature olfactive.
- une forme 3D distinctive,
Exemple
Une maison peut déposer sa marque pour protéger une dénomination de cuvée, une capsule au design particulier, ou encore une étiquette originale
Sa durée de protection est indéterminée, sous réserve de renouvellements tous les 10 ans, pour la majorité des Offices.
En pratique, de nombreuses entreprises viti-vinicoles privilégient la protection par le droit des marques pour faire valoir leur identité. La marque peut prendre des formes variées telles qu’un mot ou un assemblage de mots, des chiffres, une étiquette, un logo, un dessin, une forme 3 D, un jingle…
Exemple

Par ailleurs, le droit des marques a su démontrer son adaptabilité, notamment vis-à-vis des évolutions technologiques. Ainsi, ceux concernés par les NFT (Non Fungible Tokens) et le Métavers ont pu bénéficier d’une protection par le biais du droit des marques. 1
Attention : toutes les marques ne sont pas recevables. Et les Offices opèrent un contrôle strict. Pour être enregistrée, une marque doit être distinctive, licite, disponible… et ne pas tromper sur l’origine géographique (ex. : affaire « Champanillo »).
Une marque doit aussi être juridiquement disponible c’est-à-dire qu’elle ne doit pas enfreindre les droits antérieurs de tiers. Il est donc fortement conseillé de procéder à une recherche de disponibilité avant tout dépôt/usage.
Bon à savoir
L’Article L.711-2 du Code de la Propriété Intellectuelle stipule notamment :
Ne peuvent être valablement enregistrés et, s’ils sont enregistrés, sont susceptibles d’être déclaré nuls :
- Une marque dépourvue de caractère distinctif ;
- Une marque composée exclusivement d’éléments ou d’indications pouvant servir à désigner, dans le commerce, une caractéristique du produit ou du service, et notamment l’espèce, la qualité, la quantité, la destination, la valeur, la provenance géographique, l’époque de la production du bien ou de la prestation du service ;
- Une marque de nature à tromper le public, notamment sur la nature, la qualité ou la provenance géographique du produit ou du service ;
Une marque exclue de l’enregistrement en vertu de la législation nationale, du droit de l’Union européenne ou d’accords internationaux auxquels la France ou l’Union sont parties, qui prévoient la protection des appellations d’origine et des indications géographiques, des mentions traditionnelles pour les vins et des spécialités traditionnelles garanties (Affaire Champagnola, C‑783/19 ; affaire « Champanillo »(C-783/19) ; NewRhône Millésimes (CA Paris du 26 mai 2023)…
Les dessins et modèles : protéger le design et l’esthétique
Le droit des dessins et modèles protège « l’apparence d’un produit ou d’une partie de produit, caractérisée en particulier par ses lignes, ses contours, sa forme, sa texture ou ses matériaux »2 .
- Un dessin ou modèle protège l’apparence d’un produit : forme de bouteille, étiquette, capsule, coffret cadeau…
- Durée de protection : jusqu’à 25 ans (renouvelable par tranches de 5 ans) auprès des Offices français et de l’Union européenne notamment.
Les Offices français et de l’Office de l’Union européenne n’exercent pas d’examen de ces conditions de fond. Dès lors, les dessins et modèles sont enregistrés rapidement et de manière quasi-systématique si le dessin ou le modèle respecte certaines conditions de forme.
Tout tiers intéressé est susceptible de contester la validité d’un dessin ou modèle s’il ne respecte pas les conditions de fond à savoir :

- La nouveauté, c’est-à-dire qu’aucun dessin et modèle identique ou qui ne diffère que par des détails insignifiants n’a été divulgué à la date du dépôt.3
- Le caractère propre, c’est-à-dire lorsque l’impression visuelle d’ensemble qu’il suscite chez l’observateur averti diffère de celle produite par tout dessin et modèle divulgué avant la date de dépôt.4
Toute création peut également être protégée au titre du dessin ou modèle communautaire non enregistré contre toute copie à l’identique et pendant une période de trois ans à compter de sa première divulgation au sein de l’Union européenne.
Notre astuce
Pensez à archiver des preuves (photos, catalogues, datation) pour faire valoir vos droits en cas de copie.
Quelques exemples de modèles enregistrés par les Offices français et/ou de l’Union européenne
Toute création peut également être protégée au titre du dessin ou modèle communautaire non enregistré contre toute copie à l’identique et pendant une période de trois ans à compter de sa première divulgation au sein de l’Union européenne.
Le droit d’auteur : protéger vos créations originales
Le droit d’auteur protège toute œuvre originale, qu’elle soit graphique, technique, ou conceptuelle.
Il naît automatiquement du seul fait de la création sans nécessité de dépôt auprès d’un Office contrairement aux droits des dessins et modèles, marques ou brevets.
La protection est ici gouvernée par le critère d’originalité qui s’entend du « reflet de la personnalité du créateur ». Cette exigence bénéficie d’une présomption.
À titre illustratif
La Cour d’appel de Douai [5] a admis la protection par le droit d’auteur d’une table de dégustation de vins. Cette dernière présentait une apparence singulière la distinguant d’autres tables de dégustation et son aspect esthétique n’était pas exclusivement dicté par des nécessités techniques.
Le brevet : valoriser les innovations techniques
Vous avez développé une nouvelle solution technique dans la vinification, l’embouteillage ou la logistique ? Le brevet est fait pour vous.
Un brevet confère une protection légale d’une invention technique, c’est-à-dire un produit ou un procédé qui apporte une nouvelle solution à un problème donné.
Le brevet octroie à son détenteur un monopole d’exploitation sur les différents territoires retenus. Le fait de détenir un brevet en vigueur interdit toute exploitation de l’invention sans autorisation. Dans le cas contraire, des actions en contrefaçon peuvent être réalisées afin d’être dédommagés des préjudices subis.
Il protège une invention technique pendant 20 ans, à condition d’être nouvelle, inventive, et susceptible d’application industrielle.
Attention néanmoins : le secret absolu doit être respecté jusqu’au dépôt.
Exemple
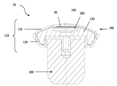
La société Bouchage Delage, spécialisée depuis 1941 dans la production de bouchons pour vins et spiritueux, a obtenu un brevet européen pour un bouchon métallisé intégrant un composant RFID, permettant de garantir l’authenticité d’une bouteille.
L’invention porte plus particulièrement sur un dispositif de fermeture de récipient de type bouchon comportant dans sa partie inférieure un corps obturateur et dans sa partie supérieure une tête, ladite tête comportant un composant RFID sous la forme d’un insert, une enveloppe comportant une surface extérieure et une surface intérieure, ainsi qu’un leste à l’intérieur de l’enveloppe.

Janvier 2024
Sources
- Produits virtuels, jetons non fongibles et métavers, EUIPO, 23 juin 2022
- Article L511-1 – Code de la propriété intellectuelle
- Article L511-3 – Code de la propriété intellectuelle
- Article L511-4 – Code de la propriété intellectuelle
- Cour d’appel de Douai, RG n° 20/02925, 19 Mai 2022
Vous avez un projet ou une question sur la protection de vos créations ?
Notre pôle vitivinicole est à votre écoute pour construire une stratégie adaptée à vos besoins.
Foire aux questions
-
Quels droits de propriété intellectuelle s’appliquent aux domaines viticoles en France ?
-
Comment protéger une étiquette de vin ou un habillage de bouteille ?
-
Peut-on déposer une marque pour une cuvée ou une appellation régionale ?
-
Quelles sont les erreurs fréquentes lors du dépôt de marque pour un vin ?
-
Puis-je protéger une innovation technique dans le secteur vitivinicole ?
-
Comment protéger mes créations si je suis un designer ou un prestataire pour le secteur vitivinicole ?
-
Le cabinet Santarelli peut-il m’accompagner si mon exploitation est en région viticole ?