Alors que les vacances d’été ont commencé, vous serez sans doute nombreux, petits et grands, à vous rendre dans un parc d’attractions (ou « parc à thèmes ») pour y vivre des expériences uniques et inoubliables. Mais savez-vous comment la Propriété Industrielle a contribué à révolutionner les attractions qui s’y trouvent ?
Je vous propose d’explorer les secrets des brevets et modèles qui ont fait le succès des parcs de l’un des esprits créatifs les plus célèbres du 20ème siècle.
Vous l’aurez deviné, il s’agit des parcs de The Walt Disney Company, l’entreprise mondiale qui possède cinq Resorts en propre (Disneyland Resort & Disney California Adventure, Walt Disney World en Floride, Disneyland Paris & Walt Disney Studios, Hong-Kong Disneyland, Shanghai Disneyland) et gère, pour le compte de l’Oriental Land Company, Tokyo Disneyland & Tokyo Disney Sea. Dans cet article j’espère vous faire découvrir vos attractions préférées sous un autre jour.
Améliorer l’expérience audiovisuelle

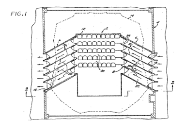
Walt Disney était avant tout un créatif de génie. Avec son équipe d’Imagineers (contraction d’Imagination et d’Engineers), il est à l’origine de la caméra « multiplane », utilisée pour créer un effet de profondeur unique dans les dessins animés des années 40. Voici d’ailleurs un visuel d’un des brevets déposés en 1938 sur le sujet. Le dispositif mesure près de 4 mètres de haut. Impressionnant non ?

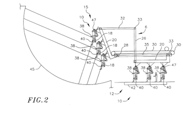
La société a déposé plus tard, en 1960, un brevet sur la caméra « nine eyes » utilisée pour l’attraction Circarama puis pour le Visionarium (à Disneyland Paris). Ce dispositif permettait ensuite de projeter un film sur un écran à 360° (le « Circle Vision ») grâce à neuf projecteurs synchronisés, une technologie très avant-gardiste pour l’époque.

Embarquer les visiteurs dans l’univers des héros
Quand Walt Disney a commencé à s’intéresser au domaine des parcs à thèmes, il s’agissait pour lui de faire autre chose que de « s’asseoir sur un banc à manger des cacahouètes en regardant ses deux filles jouer dans un carrousel ». Il voulait créer un parc ou enfants et parents puissent s’amuser ensemble. De là est né le tout premier parc ouvert en 1955, à Anaheim (Californie), le célèbre Disneyland.
Très tôt Walt Disney a travaillé avec son équipe d’Imagineers pour créer les attractions de ce premier parc. Et c’est aussi tout naturellement qu’il a protégé certaines technologies devenues au fil du temps des succès indémodables qui perdurent encore aujourd’hui.
Il faut aussi reconnaître à Walt Disney un talent indéniable pour imaginer sans cesse le futur, comme son projet de ville de demain appelée « Experimental Prototype Community of Tomorrow », devenue le parc à thèmes EPCOT ouvert en Floride en 1982 et qui est une ode à la connaissance.
Voici le premier Audio-Animatronic (encore un « mot tiroir » mélangeant Animation et Electronic). Cet oiseau, présent dans l’attraction Tiki Birds, a été présenté initialement à la New York World Fair de 1964. Mais que fait-il ce volatil ? Et bien, il bouge, certes encore assez peu et de manière saccadée, mais surtout, il « parle ». Enfin son bec bouge au rythme de ses « mots », grâce à un système breveté en 1960 par la société WED (Walter Elias Disney était son vrai nom).

Ces automates ont véritablement révolutionné les attractions. Il existe d’ailleurs un autre brevet plus récent (US2012152051) sur une version améliorée présente dans l’attraction Beauty and the Beast à Tokyo Disneyland. N’est-il pas réaliste comme ça notre cher « Lumière » ?

Aujourd’hui, on trouve des Audio-Animatronics de dernière génération dans plusieurs attractions, notamment le Shaman de Nav’i River Journey à Animal Kingdom (Floride), et plus récemment dans le nouveau Land « Fantasy Springs » ouvert en juin 2024 à Tokyo Disney Sea et dans la réhabilitation de Splash Mountain au Magic Kingdom (Floride). Ces automates possèdent des gestes d’une grande complexité, avec une fluidité et un réalisme jamais atteints jusqu’à présent, grâce notamment aux actionneurs électriques et au contrôle informatique. Disney est d’ailleurs devenu au fil du temps un véritable pionnier dans le domaine de la robotique.
Passons au WEDway People Mover, un système totalement révolutionnaire de transport de visiteurs, d’ailleurs toujours présent au Magic Kingdom de Floride, utilisant dès la fin des années 60 des véhicules circulant automatiquement sur une boucle sans s’arrêter et propulsés par… des électro-aimants.

Continuons notre exploration des modes de transport novateurs avec l’OmniMover, utilisé notamment dans la célèbre attraction Phantom Manor de Disneyland Paris (Haunted Mansion de l’autre côté de l’atlantique). Il s’agit d’un système dans lequel les véhicules (appelés des « Doom Buggies ») qui accueillent les visiteurs, pivotent sur eux-mêmes et circulent en boucle le long d’un rail caché, d’où la présence d’un tapis roulant pour monter dedans et en sortir.

Une version améliorée de type aquatique (« boat ride ») décrite dans US2013025491 a été utilisée plus récemment à Shanghai Disneyland pour l’attraction très immersive Pirates of the Caribbean: Battle for the Sunken Treasure.

Walt Disney et ses équipes sont aussi à l’origine de la première « montagne russe » utilisant un circuit de des rails métalliques à section ronde soudés entre eux . Il s’agit du Matterhorn Bobsled (inspiré du Mont Cervin) qui est d’ailleurs toujours actif à Disneyland en Californie après près de 70 ans de bons et loyaux services. Il n’est plus tout jeune, il reste vaillant, et vos vertèbres s’en souviendront !

Qui ne connait pas l’attraction It’s a Small World présentée en réalité pour la première fois également à la New York World Fair de 1964 ? Il ne s’agit pas de parler de sa musique entêtante (non, ne me remerciez pas !) mais bien d’un brevet décrivant son système de double quai pour accélérer l’embarquement dans les bateaux et augmenter sa capacité.

Changeons d’univers et allons voir ce qui se fait du côté de la Force. L’univers Star Wars a inspiré plusieurs attractions, dont Rise of the Resistance, sans doute une des meilleures au monde, qui a ouvert en 2019 aux Disney Hollywood Studios en Floride. Mais le sujet ici est le Star Tours, dont l’accès entre les véhicules articulés sur vérins (les « Star Speeder ») et l’entrée / la sortie se fait via une passerelle brevetée (EP0324567). Eh oui, même les passerelles peuvent être innovantes et faire l’objet de brevet !

Faisons un saut dans le temps et rendons visite à notre cher Indiana Jones à Disneyland Californie et Tokyo Disneyland. Comme tout bon aventurier, Indy aime les véhicules qui roulent vite sur des terrains accidentés. Voyons ce que les Imagineers ont conçu dans les années 80 pour faire vivre ces mêmes sensations aux visiteurs. La solution se trouve dans la technologie appelée Enhanced Motion Vehicle (EMV) : les voitures (« rovers ») circulant sur un rail sont montées sur des vérins qui inclinent le châssis d’avant en arrière et sur les côtés, en particulier dans les virages ou les descentes, pour secouer les visiteurs. Cette attraction est un des exemples les plus aboutis d’Imagineering, illustré par les brevets US5583844 et US5623878. A noter que deux brevets européens existent… Mais il n’y a toujours pas d’attraction correspondante en France malheureusement.

La création de Disneyland Paris au début des années 90 a fait l’objet de plusieurs innovations pour des attractions comme le Space Mountain. Encore une grande première pour Disney qui a créé le premier Roller Coaster au monde avec de l’audio embarqué et synchronisé avec le circuit. A l’époque, cette innovation majeure (brevet US5784473) a été très complexe à mettre en œuvre puisque chaque véhicule possède son propre sound system et le train fonce à près de 100 km/h après une propulsion par catapulte inclinée (le même système que celui des porte-avions d’ailleurs).

Puisque nous sommes dans l’univers des montagnes russes, un autre système de propulsion a été breveté (US5595121) pour l’attraction Rock & Roller Coaster. Contrairement au Space Mountain, ce dispositif est horizontal et il utilise la technologie du Linear Induction Motor (LIM) constituée par une suite d’aimants très puissants qui repoussent de manière synchronisée une barre métallique fixée sous un train de plusieurs tonnes afin de le propulser à 100 km/h en 2,8 secondes. Intense et décoiffant !

En véritables « touche à tout », les Imagineers ont également travaillé au début des années 90 dans le domaine des feux d’artifice pour les rendre non seulement plus beaux, mais aussi moins bruyants et plus respectueux de l’environnement (avec les normes de l’époque). C’est ce que nous enseigne le brevet très imagé EP0620910.

Toujours dans les années 90, Disney s’est aussi intéressé aux spectacles nocturnes et a donc breveté (US5368228) une technologie pour Fantasmic qui nous semble de plus en plus courante puisqu’il s’agit de la projection de vidéos sur un mur d’eau. Ces images flottantes et mouvantes dans l’air sont très impressionnantes et ont dû en fasciner plus d’un.

Faire voler les visiteurs
Aller au-delà de l’expérience immersive, et s’inspirant de la chanson « You can fly » de Peter Pan, les Imagineers se sont dits un jour : « Et si nous faisions voler nos visiteurs ? ». Quel défi pour eux que de concevoir cette structure mobile portant 3 rangées superposées de sièges articulés dans le vide et placés devant un écran hémisphérique ! Ajoutez à cela une diffusion de vent et d’odeurs et vous obtenez Soarin Over the World, une réussite de créativité et de sensations. Un brevet français existe (FR2818916), mais il n’existe pas encore de version à Disneyland Paris malheureusement…
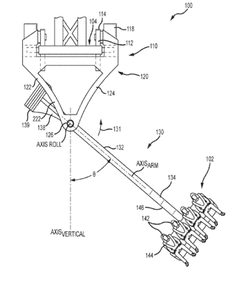
« Vers l’infini et au-delà », c’est ce que dit Buzz l’Eclair quand il s’élance dans le vide en espérant voler (ce n’est qu’un jouet, mais chut, il ne faut pas lui dire !). Les différentes versions de l’attraction Buzz Lightyear utilisent quant à elles un système breveté (US7955168) de tir sur cibles pour éliminer le méchant robot Zurg. A vos pistolets, mais visez bien !

Qui n’a pas rêvé, devant le film Avatar, de chevaucher un « Banshee », ce dragon multicolore si difficile à apprivoiser ? L’attraction Flight of Passage ouverte en 2015 dans le land Pandora d’Animal Kingdom vous permet de réaliser l’impossible en toute sécurité. Cette attraction incroyable est sans doute une des plus immersives de tous les parcs Disney. Voici la technologie décrite dans US10213701 et US9744930 qui vous maintient tout contre votre monture, laquelle « respire » au rythme de l’aventure grâce à des mouvements localisés de gonflement d’une partie de la « selle », le tout devant un film 3D haute définition sur écran hémisphérique. Un moment suspendu à la fois poétique et vertigineux.

Depuis les années 2000, la société innove surtout dans d’autres domaines : communication, contenus multimédia, interactivité, jeux vidéo, interfaces utilisateur, réalité virtuelle & augmentée, animation en temps réel, IA, numérique, Internet & cloud. De plus, même si Disney travaille encore beaucoup sur la mécanique (robotique), elle a toujours fait appel dès les années 50 à des sociétés tierces comme Arrow Dynamics, Intamin et surtout Vekoma.

Et l’avenir ? : “ If you can Dream it, you can do it ”
Voici maintenant quelques brevets sur des attractions qui n’ont pas encore vu le jour. Les technologies développées sont souvent très novatrices et permettront sans doute de procurer de des sensations inédites. Nous aurons peut-être la chance de les essayer un jour, qui sait… Et comme disait Walt Disney : « Just remember, it all started with a mouse »…




Il n’y a pas que des brevets dans les parcs !
VD’autres aspects de Propriété Intellectuelle y sont largement utilisés : on aurait ainsi pu parler de la musique et des personnages protégés par le droit d’auteur, des licences de marques concédées telles que celles des personnages Star Wars ou Marvel rachetées par Disney afin de les intégrer au sein des parcs. Cela pourrait facilement faire l’objet d’un futur article.
Pour terminer en restant ludique, voici quelques modèles déposés de différentes attractions de Disneyland Paris que vous aurez sans doute reconnues






Juillet 2024
Ces insights pourraient vous intéresser
juillet 2024